广晟服务热线:13573670168
0536-6808888
Banner

医院废水一体化处理设备

  医院废水一体化处理设备,采用生物接触氧化处理工艺,生物处理装置要求技术可行,运行费用低廉,经济合理,设备可靠先进,工艺技术具有一定的耐冲击负荷和操作灵活性。出水水质稳定,污泥产量少并易于处理。

4_副本.jpg

一、医院废水一体化处理设备工艺:

  医院废水一级处理的典型工艺是一级沉淀加俏毒。此流程适用于污水排人市政下水道的医院,特别是一些综合医院。就我国目前的情况而言,大多数城市医院废水处理后是排人城市下水道,故通常只进行一级处理。医院污水的处理经过以下流程:预处理+生化处理+消毒其中,消毒的作用是消灭污水中各种致病菌,以保证医院污水处理后能够达标排放。但随着医院污水排放标准的提高,有些大城市医院也积极采用二级处理以确保处理后出水的水质。

IMG_6989_副本.jpg

二、医院废水一体化处理设备处理原则:

 1、确保消毒灭菌效果使之达到国家污水排放标准;

 2、应考虑废水排放的排向及受纳水体和环境功能对水质的要求。医院污水处理的工艺流程通常包括污水的预处理和污水的消毒两大部分。污水的预处理通常采用一级处理和二级处理(生化处理)。绝大多数医院污水处理都采用一级或二级处理,经过预处理后再进行消毒的污水一般均能达到国家环保部门和防疫部门对医院污水处理的要求。

2345_image_file_copy_17_副本.jpg

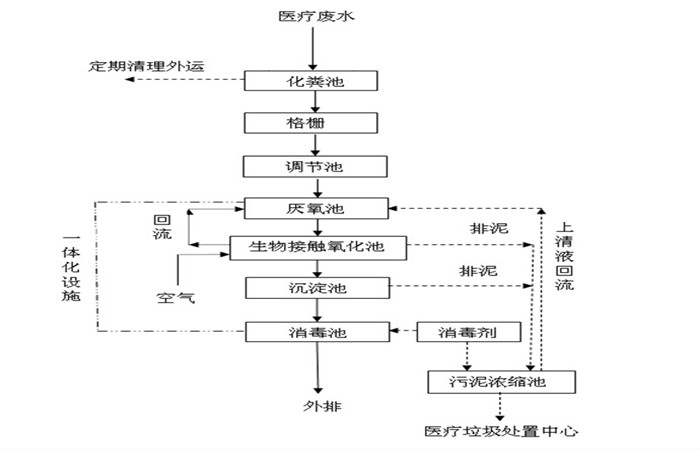
三、医院废水一体化处理设备工艺流程:

  1、医院废水首先进入格栅井,格栅的作用主要是拦截污水中的漂浮物及颗粒物,减轻后续设备的处理负荷和保护水泵正常工作。

  2、从格栅出来的水有提升泵提升到调节池,调节池的作用是调节水质和水量,使不同时间、不同水质的水充分混合,保证进入到后续设备的水质与水量均匀一致,还可以降低一定的负荷,使整套处理设备耐受短时间较高的负荷冲击。

  3、为防止SS在调节池沉淀,在调节池中安装几根曝气软管,起搅拌作用,同时调节池具有水解、酸化池的功能,可将部分大分子有机污染物降解为小分子污染物,去除部分有机污染物。

  4、调节池出来的水自流至一体化医院污水处理设备的水解酸化池,将不易分解的大分子有机物厌氧消化为易分解的小分子有机物,后废水进入接触氧化池,在曝气池中设置填料,将其作为生物膜的载体。待处理的废水经充氧后以一定流速流经填料,与生物膜接触,生物膜与悬浮的活性污泥共同作用,达到净化废水的作用。

  5、生物处理后的废水自流入沉淀池,沉淀后上清液自流入消毒池,经过二氧化氯消毒后达标排放。

医院污水.jpg

四、医院废水一体化处理设备消毒装置:

  二氧化氯发生器是一种操作简单、高转化率、高纯度、多用途、环保型化学法中、小型二氧化氯多级发生器。这种二氧化氯发生器,是由釜式反应器通过耐酸导管和水 射式真空机组组成。釜式反应器采用的是两级或多级反应器,主反应釜内设有空气分布器,副反应釜设置了平衡管,使反应更彻底,反应后的残液可达标排放。生成的二氧化氯制得水溶液,也可以制得稳定二氧化氯溶液。做为一种新型的氧化剂和消毒剂,二氧化氯以其高效、广谱、无残留、无副产物的消毒能力和脱色、除臭、 除异味等强氧化能力已经成为水处理领域的选择。

mmexport1499846208511.jpg

mmexport1564802925654.jpg


医院废水一体化处理设备 2020-6-24 本文被阅读 1171 次
< a href=" ">在线客服