广晟服务热线:13573670168
0536-6808888
Banner

一体化医疗废水处理设备型号参数

一体化医疗废水处理设备型号参数

地埋型号.jpg

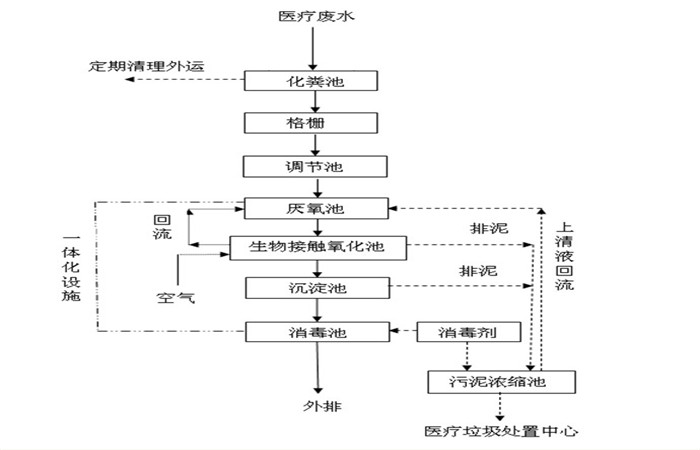
二、一体化医疗废水处理设备工艺介绍:

  小型医疗废水处理设备工艺选择采用“厌氧生化+生物接触氧化法+消毒”为主的处理工艺.

  1、调节池:经预处理后的合流污水经格栅去除大颗粒漂浮物后自流到调节池,在调节池中均化水质水量,自行调节温度、浓度、pH值等,然后通过泵提升至厌氧池;

  2、厌氧池: 有机物分别被聚磷菌和反硝化细菌利用后浓度已很低,有利于自养的硝化菌的生长繁殖。主要作用是除氮。


  3、接触氧化池:接触氧化池是一种以生物膜为主,兼有活性污泥的生化处理装置。污水中的大部分有机物在此得到降解和净化,好氧菌以填料为载体,利用污水中的有机物为营养,将污水中的有机物分解成无机盐类,从而达到净化的目的。好氧菌的生存,必须有足够的氧气,即污水中有足够的溶解氧,以达到生化处理的目的。好氧池的处理效果好坏取决于填料与曝气器,本设备采用目前国内先进的填料与曝气器。

  4、二沉池:污水经好氧池处理后自流进入二沉池,在二沉池中进行泥水分离,上清液经溢流堰溢流进入消毒池。沉淀污泥经泵回流至缺氧池或提升至污泥浓缩池,污泥浓缩消毒后吸粪车外运,滤液回流至调节池。

  5、消毒池:对污水进行消毒,杀灭病菌,达标后排放。

医院污水.jpg

三、一体化医疗废水处理设备生化处理:

    接触氧化法是一种好氧生物膜法工艺,微生物以生物膜形式及悬浮态生长于水中,因此它兼具活性污泥及生物滤池二者的特点。池内设置立体弹性填料和曝气管路系统,并于曝气管路系统上安装微孔曝气器。弹性填料由拉毛的PP材质的丝条和绞绳制成,呈圆形毛刷状,比表面积大,能附着大量的微生物膜。该填料挂膜快,脱膜容易,运行时丝条对空气泡能起到极好的切割作用,使大气泡切割成小气泡,可增加气液接触面积,促进氧的传递,从而提高处理效果。该工艺负荷高、停留时间短、挂膜快、运行稳定,比较适合小规模企业中小型污水处理站的建设,倍受环保公司及用户青睐。

  

mmexport1499846164863.jpg

四、一体化医疗废水处理设备消毒:

  医院污水中含有大肠杆菌超标,因此在污水排放前必须加以消毒,最有效的杀菌工艺是二氧化氯消毒,二氧化氯发生器以盐酸和氯酸钠为原料,采用负压曝气工艺,生产以二氧化氯为主,氯气为铺的复合消毒液,工业盐酸应符合国家标准《GB320--93工业合成盐酸》的要求。氯酸钠应符合《GB1618--1995工业用氯酸钠》的要求。

mmexport1499846245566.jpg


一体化医疗废水处理设备型号参数 2020-6-24 本文被阅读 1153 次
< a href=" ">在线客服