广晟服务热线:13573670168
0536-6808888
Banner

一体化医疗污水处理机器

一、一体化医疗污水处理机器

  对于医院废水而言,一般都含有对生物细菌有抑制作用和难以生物降解的药物成份,因此可以考虑采用前面放置厌氧处理的工艺,先将难降解的有机物水解。综合以上考虑本方案拟用低能耗的厌氧水解+生物接触氧化法为主体。通过厌、好氧菌分解有机物达到降解去除医院综合污水中有机污染物质与有害、有毒物质,达到《医疗机构水污染物排放标准》(GB18466-2005)一级排放标准,出水再经过深度处理彻底消毒处理,达到消灭病菌、细菌、保障人体健康,消除有机污染物所引起的污染隐患的目的。

1_看图王_副本.jpg

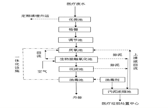
二、一体化医疗污水处理机器工艺说明:

  医疗污水首先进入格栅井,格栅的作用主要是拦截污水中的漂浮物及颗粒物,减轻后续设备的处理负荷和保护水泵正常工作。从格栅出来的水有提升泵提升到调节池,调节池的作用是调节水质和水量,使不同时间、不同水质的水充分混合,保证进入到后续设备的水质与水量均匀一致,还可以降低一定的负荷,使整套处理设备耐受短时间较高的负荷冲击。

  为防止SS在调节池沉淀,在调节池中安装几根曝气软管,起搅拌作用,同时调节池具有水解、酸化池的功能,可将部分大分子有机污染物降解为小分子污染物,去除部分有机污染物。调节池出来的水自流至一体化医疗废水处理设备的水解酸化池,将不易分解的大分子有机物厌氧消化为易分解的小分子有机物,后废水进入接触氧化池,在曝气池中设置填料,将其作为生物膜的载体。

  待处理的废水经充氧后以一定流速流经填料,与生物膜接触,生物膜与悬浮的活性污泥共同作用,达到净化废水的作用。生物处理后的废水自流入沉淀池,沉淀后上清液自流入消毒池,经过二氧化氯消毒后达标排放。

医院污水.jpg

三、一体化医疗污水处理机器设计原则:

1、严格执行国家现行的环保技术标准、规范,遵守国家和地方环保的有关法律、法规及排放标准;

2、选用先进、合理、可靠的处理工艺,在确保处理排放达标的前提下,做到操作简单、管理方便、占地小、投资省、运行费用低;

3、本工程系环境工程,尤其要注意环境保护,避免和减少二次污染。要求改善劳动卫生条件,贯彻安全生产和清洁文明生产的方针;

4、为了提高污水处理站管理水平,设计采用PLC全自动程序控制,减轻操作人员的劳动强度;

5、合理选用优质配件,降低能耗,提高工作效益和使用寿命,降低系统运行成本;

6、地埋式污水处理设备,有较大的灵活性,可调性,适应水量、水质的周期变化。

7、因地制宜,合理布局,有效地利用空间和场地。

mmexport1499846164863.jpg

psbCAVM56AN.jpg

一体化医疗污水处理机器 2020-6-20 本文被阅读 1462 次
< a href=" ">在线客服